5. Методы и приборы для геодезических измерений на местности.
5.10. Угломерные геодезические приборы.
В соответствии с действующими Государственными стандартами (ГОСТ) теодолиты, нивелиры и приборы для измерения длин линий, классифицируют по точности в зависимости от основной погрешности измерений.
К высокоточным относятся угломерные приборы, преимущественно применяемые для производства основных геодезических работ (триангуляции 1-4 классов, полигонометрии 1 и 2 классов, нивелирования I-III классов), инженерных и специальных геодезических работ особо высокой точности. СКП измерения углов высокоточными приборами не более 1˝.
К точным относятся приборы, применяемые для развития и сгущения Государственной геодезической сети и производства массовых геодезических работ, такие как 2Т2, 3Т2КП, 2Т5КП, 3Т5КП. СКП измерения угла этими теодолитами порядка 2˝ - 5˝.
К техническим относятся приборы, применяемые при построении съемочных сетей и производстве съемок: 2Т30, 2Т30П, 4Т30П. Они обеспечивают точность измерения угла не грубее 30˝.
По ГОСТ символика марки теодолитов расшифровывается следующим образом: первая цифра означает номер модели, буква Т - теодолит (название прибора), цифра, следующие за буквой, характеризует точность прибора, буква К - наличие компенсатора вертикального круга и П - прямое изображение зрительной трубы. Учитывая изложенное выше, легко выбрать прибор с требуемыми характеристиками. В ряде организаций имеются приборы, у которых изображение зрительных труб обратное. Это теодолиты Т30, Т15, 2Т5 и другие. Срок службы геодезических приборов зависит от правильного обращения с ними.
При производстве геодезических работ для землеустроительных изысканий и кадастровых работ в настоящее время широко применяются оптико-механические технические и точные теодолиты. Причем уже в 80-90 годы прошлого века широкое распространение получили теодолиты со зрительными трубами прямого изображения и шкаловыми отсчетными системами.
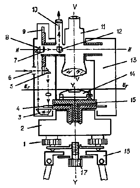
5.10.1. Принципиальная схема устройства теодолита
Главными составными частями теодолита являются: зрительная труба, осевая система (опорно-поворотное устройство), рабочие меры, отсчетные системы, уровни, приспособления для установки и центрирования.
Зрительная труба состоит из объектива, окуляра, фокусирующей линзы и сетки нитей. Фокусирование изображения наблюдаемого предмета производится вращением фокусирующего кольца или кремальеры, а сетки нитей - вращением окулярного колена. Для юстировки положения сетки нитей имеются так называемые исправительные винты. В зрительных трубах теодолитов 2Т2, 2Т5К, 2Т5 сетка нитей установлена неподвижно, что обеспечивает более стабильное положение визирной оси при перефокусировании на разноудаленные визирные цели. Зрительные трубы теодолитов могут быть астрономическими (с обратным изображением) или земными (с прямым изображением). Система осей (рис.5.21) предназначена для прецизионного вращения при геодезических измерениях отдельных частей приборов в горизонтальной и вертикальной плоскостях, следовательно, геометрические оси соответствующих систем осей в рабочем положении совмещаются с отвесной или перпендикулярной ей горизонтальной линией, а сами системы называются вертикальными (ось вращения прибора - ZZ1) или горизонтальными осями (ось вращения трубы -HH1) прибора. Конструкции осевых систем обеспечивают точность, надежность, долговечность геодезических приборов. Осевые системы соединяют отдельные части приборов, обеспечивая в тоже время постоянство взаимного положения оптико-механических узлов и возможность вращения одних частей прибора относительно других.

Рис. 5.21. Схема расположения основных осей в теодолите: ZZ - вертикальная;
НН1 - горизонтальная; VV1 - визирная; UU1 - цилиндрического уровня.
В схеме прибора вертикальная ось является базой, относительно которой располагают другие оси и плоскости (например: оси цилиндрических уровней UU1, по которым устанавливают прибор, должны быть перпендикулярны, а оси круглых (сферических) уровней параллельны вертикальной оси).
Вертикальные оси угломерных приборов и нивелиров соединяют алидадную часть (верхнюю, вращающуюся часть прибора), несущую визирные приспособления (зрительные трубы) и отсчетные устройства с подставкой (трегером) прибора и горизонтальным лимбом.
Горизонтальные оси угломерных приборов обеспечивают возможность вращения зрительной трубы в вертикальной плоскости. Горизонтальную ось вращения зрительной трубы и плоскость горизонтального лимба теодолитов устанавливают перпендикулярно вертикальной оси, а центр горизонтального лимба совмещают с вертикальной осью.
Для изготовления осей теодолита используют материалы, обеспечивающие их прочность, плавность вращения, работоспособность при колебаниях температуры от +40° до -40°. Точность пригонки друг к другу соприкасающихся деталей должна соответствовать точности уровня, по которому прибор устанавливается в рабочее положение. При этом ось и втулка, входящая в вертикальную систему оси, которая крепится к подставке, остается неподвижной при вращении других частей прибора и обеспечивает неподвижность геометрически всей осевой системы теодолита во время измерений.
Рабочими мерами служат горизонтальный и вертикальный лимбы. Лимб - это рабочая мера геодезического прибора в виде круговой шкалы. В оптических теодолитах это кольцо из оптического стекла с нанесенными на нем через определенный интервал градусными делениями. Он предназначен для определения величины измеряемого угла. В процессе измерений горизонтального угла лимб должен быть горизонтален н неподвижен, а его центр должен располагаться над вершиной измеряемого угла. Величина центрального угла, определяемого наименьшим делением лимба называется ценой деления лимба. У теодолита ТЗО градусные деления на лимбе разделены на 6 частей, значит, цена деления лимба 10'. У теодолитов (Т5, Т15,2Т30) цена деления лимба 1º. Оцифровка делений лимба возрастает по ходу часовой стрелки от 0 до 360º. Лимб и алидада вместе образуют круг - горизонтальный и вертикальный. Алидада - часть геодезического прибора, расположенная соосно с лимбом, т.е. на одной механической оси, и несущая элементы отсчетного устройства. Она предназначена для фиксирования на лимбе направления горизонтального проложения, соответствующего положению зрительной трубы в момент измерения. Это фиксирование осуществляется отсчитыванием по лимбу с помощью отсчетных устройств: отсчетных микроскопов, оптических микрометров и др.
Отсчетными устройствами теодолитов являются: микроскоп с индексом, шкаловый микроскоп, микроскоп - микрометр и оптический микрометр. Отсчитывание производят с помощью одного общего для двух кругов отсчетного микроскопа, расположенного рядом со зрительной трубой.
Уровни служат для установки теодолита и его частей в рабочее положение. Приведение главной оси вращения теодолита в вертикальное положение выполняется с помощью уровня при алидаде горизонтального круга, а линии нулей алидады вертикального круга в горизонтальное положение - с помощью уровня при алидаде вертикального круга. В теодолитах серии Т5К в отсчетную систему вертикального круга введен маятниковый компенсатор вместо уровня при вертикальном круге.
К установочным приспособлениям относятся: закрепительные и наводящие устройства, подъемные винты подставки (трегера), установочные винты уровней, оптические визиры при зрительной трубе, центрирующие приспособления.
Для установки теодолита над центром знака служит нитяный отвес или оптический центрир.
Для удобства работы у большинства теодолитов зажимные и наводящие устройства размещены на одной механической оси.
В комплекте теодолита имеется ориентир-буссоль, призмы для визирования при больших углах наклона.
По виду сопряжения горизонтального лимба с его осью вращения теодолиты делятся на неповторительные и повторительные. У первых лимб и алидада горизонтального круга не имеют совместного вращения, у вторых лимб и алидада могут вращаться вокруг своей оси на любой угол независимо друг от друга или совместно. В результате обеспечивается возможность применять метод измерения уменьшающий влияние погрешностей отсчета по лимбу на измеряемый угол. Для поворота лимба некоторые виды теодолитов имеют специальные приспособления.
5.10.2. Теодолит технической точности, его устройство.
Для работ технической точности применяются оптические теодолиты Т15, Т30 и др. им равноточные. Технические теодолиты обычно имеют небольшие размеры массу, просты в использовании, снабжены простейшим отсчетным приспособлением.

Рис.5.22. Общий вид теодолита: а-при положении вертикального круга лево (КЛ); б -при круге право (КП):
1 - наводящий винт горизонтального круга; 2 - окуляр микроскопа; 3 - зеркало подсветки; 4 - боковая крышка колонки; 5 - посадочный паз для буссоли при вертикальном круге; 6 - уровень при трубе; 7- юстировочная гайка уровня при трубе; 8 - колпачок; 9 - диоптрийное кольцо окуляра; 10 - наводящий винт зрительной трубы; 11 - наводящий винт алидады; 12 - подставка; 13 - подъемные винты; 14 - втулка упорная; 15 - основание; 16 - упорная гильза; 17 - юстировочный винт уровня; 18 - закрепительный винт алидады; 19 - уровень при алидаде; 20 - кремальера; 21 - закрепительный винт трубы; 22 - визир; 23 - колонка; 24 - закрепительный винт горизонтального круга.
Общий вид теодолита Т30 представлен на рис. 5.22, а схема устройства - на рис. 5.23. У теодолита Т30 сопряжение горизонтального лимба с его осью вращения повторительного типа. Отсчетная система одноканальная с отсчитыванием по одной стороне лимба горизонтального и вертикального кругов.
Вертикальная ось теодолита полая с опорой на подшипник в нижней части. Зрительная труба теодолита может использоваться как оптический центрир. В этом случае её устанавливают вертикально объективом вниз и визируют на точку на земле через отверстие в полой вертикальной оси. Последняя модель теодолита 4Т30П снабжена оптическим центриром.
Рассмотрим более подробно главные части теодолита.
Зрительная труба. Для точного наведения на наблюдаемый предмет местности или специальный геодезический знак теодолит снабжён зрительной трубой. Назначение её - создать строго фиксируемую визирную линию и обеспечить возможность рассматривания удаленных предметов.

Рис. 5.23. Схема устройства оптического теодолита технической точности:
1 - подъемный винт; 2 - подставка; 3,5,8,12 - призмы, передающие показания с лимбов в отсчетный микроскоп; 4 - лимб горизонтального круга; 6 - иллюминатор; 7 - коллектив с индексом (шкалой); 9 - лимб вертикального круга; 10 - окуляр микроскопа;11 - зрительная труба; 13 - колонка; 14 - цилиндрический уровень; 15 - алидада горизонтального круга; 16 - головка штатива; 17 - становой винт; Н-Н - ось вращения трубы; Uг-Uг - ось цилиндрического уровня; V-V - визирная ось; Y-Y - вертикальная ось вращения теодолита.
Зрительная труба имеет металлический корпус (тубус) и конструктивно соединена с полой горизонтальной осью вращения, которая двумя концами (цапфами) помещена в лагеры - втулки в колонках теодолита.
Различают трубы с внешней (труба Кеплера) и внутренней фокусировкой. В современных приборах используют трубы с внутренней фокусировкой. Зрительные трубы ранее выпускавшихся приборов в основном были астрономическими, т.е. дающими обратное изображение. В последние годы в приборах стали использовать трубы, дающие прямое изображение наблюдаемых предметов.
Зрительная труба с внутренней фокусировкой (рис.5.24) состоит из следующих основных оптических частей:

Рис. 5.24. Схема зрительной трубы теодолита с внутренней фокусировкой.
L1 и L2-положительный и отрицательный компоненты телеобъектива, L3-окуляр, 1- кремальер (кольцо) для перемещения фокусирующей линзы, 2 - окулярная трубка, 3 - сетка нитей, 4 - корпус трубы.
L1-объектива (обращённая к предмету часть), который строит оптическое обратное изображение удаленного предмета в своей задней фокальной плоскости. Оправа объектива является действующей диафрагмой и входным зрачком;
L2-отрицательной компоненты объектива;
L3-окуляра (часть оптической системы трубы, обращённая к наблюдателю), через который рассматривают полученное оптическое изображение, совмещенное с передней фокальной плоскостью окуляра. Окуляр выполняет роль лупы, увеличивающей оптическое изображение предмета;
сетки нитей - плоскопараллельной пластинки в металлической оправе (диафрагме), устанавливаемой в плоскости изображения, т.е. в задней фокальной плоскости объектива; на ней выгравированы пересекающиеся линии (штрихи) и расположена она в передней фокальной плоскости окуляра. В трубе расстояние между объективом и сеткой нитей не изменяется и фокусирование изображения выполняется перемещением фокусирующей (рассеивающей двояковогнутой) линзы L2 посредством кремальеры или кольца.
Пересечение средних штрихов сетки образует крест нитей, служащий для наведения визирной оси трубы на точки местности. В простейшем виде на стеклянной пластинке нанесены взаимно перпендикулярные штрихи (нити) сетки (рис.5.25). Вертикальная нить сетки служит для наведения трубы на веху или какой-либо другой ориентир, поэтому необходимо установить её строго вертикально. Двойные вертикальные штрихи называются биссектором нитей. Наблюдение (визирование) на наблюдаемую цель биссектором выполняется точнее, чем одной нитью. Точка пересечения вертикальной нити со средней горизонтальной (крест нитей) определяет положение одной из точек визирной оси.

Рис.5.25. Виды сетки нитей зрительной трубы
Прямая, соединяющая крест нитей сетки с оптическим центром объектива, называется визирной осью. Воображаемое продолжение визирной оси до наблюдаемой цели - линия визирования.
При необходимости выполнения геометрических условий в приборе оправа (диафрагма) сетки нитей может перемещаться в фокальной плоскости посредством исправительных винтов, которые обычно закрыты навинчивающимся колпачком со стороны окуляра.
Ход лучей в трубе и принцип получения изображения предмета показаны на рис. 5.26.
Качество изображения в зрительной трубе, точность наведения на предметы местности существенно зависит от оптических показателей: увеличения, точности визирования и др.

Рис.5.26.Ход лучей в трубе с внутренней фокусировкой:
О1, О2, Оф, Оэ - оптические центры объектива, окуляра, фокусирующей линзы, эквивалентной линзы; F1, Fэ - передние фокусы объектива и эквивалентной линзы; F2, F2' - передний и задний фокусы окуляра; а2в2 - уменьшенное действительное обратное изображение предмета АВ; А'В' - мнимое увеличенное изображение предмета АВ; ƒ1 и ƒ2 - фокусные расстояния объектива и окуляра; α - угол под которым виден предмет невооруженным глазом; β - угол под которым виден предмет вооруженным глазом.
В зрительной трубе действительное изображение предмета, т.е. а2в2 рассматривается через окуляр, расположенный от данного изображения на расстоянии, меньшем ƒ2. Поэтому вместо а2в2 видно его мнимое прямое увеличенное в υ раз изображение А'В'. Здесь увеличение трубы равно
|
υ = β /α или υ ≈ ƒ1 / ƒ2 |
|
Увеличением υ трубы называется отношение угла β, под которым предмет АВ виден вооруженным глазом (в зрительную трубу), к углу α под которым этот предмет виден невооруженным глазом.
Определение увеличения трубы через фокусные расстояния объектива и окуляра будет приближенным, так как малая величина ƒ2 (около 8-10 мм) определяется с большой погрешностью.
Зрительные трубы геодезических приборов увеличивают в 20 - 60 и более раз, увеличение зрительных труб технических теодолитов обычно бывает 20 - 25×.
Практически увеличение трубы можно определить при помощи рейки, стоящей в 5-10 м от теодолита и наблюдаемой одновременно обоими глазами: одним глазом непосредственно на рейку, а другим - в трубу. При этом два видимых изображения делений рейки проектируются одно на другое. Определение увеличения трубы сводится к тому, чтобы подсчитать, сколько делений, видимых невооруженным глазом, проектируется на одно деление, видимое вооруженным глазом. Это число и будет увеличением трубы.
Зная увеличение трубы, можно определить точность визирования, т. е. точность, с которой совмещается крест нитей сетки и изображение точки наблюдаемого предмета.
Из исследований нормального человеческого глаза известно, что две точки в пространстве не кажутся сливающимися, если угол между лучами, идущими от глаза на эти точки, не меньше 1'. Поэтому такой угол называется критическим углом зрения нормального невооруженного глаза, и точность визирования невооруженным глазом считают равной 1'.
Для вооруженного глаза критический угол зрения уменьшается пропорционально увеличению трубы. Поэтому точность визирования зрительной трубы выражают формулой
|
tυ= 60″/υ. |
(5.15) |
Пример. Примем υ = 20×, тогда tυ = 60″/20 = 3″, т.е. с точностью до 3″ можно навести визирную ось зрительной трубы с увеличением υ = 20× на наблюдаемую точку.
С увеличением υ трубы связано обратной зависимостью поле зрения, т.е. пространство, видимое в трубу при неподвижном её положении. Оно измеряется углом, определяемым по формуле:
|
φ = 38º/ υ. |
(5.16) |
Труба переводится через зенит обоими концами. Труба вместе с алидадной частью вращается в горизонтальной плоскости вокруг вертикальной оси теодолита и в вертикальной плоскости вокруг горизонтальной оси вращения трубы. Последнее позволяет измерять углы наклона по вертикальному кругу, укрепленному на одном из торцов оси перпендикулярно оси вращения трубы.
Вертикальная плоскость, образуемая визирной осью при вращении зрительной трубы вокруг ее горизонтальной оси, называется коллимационной плоскостью.
При измерении углов наклона небольшие перемещения трубы (визирной оси) в вертикальной плоскости при закрепленной трубе осуществляются с помощью наводящего винта на колонке теодолита.
Любое измерение теодолитом включает отсчёты по горизонтальному и вертикальному кругам. Современные теодолиты оснащены оптической системой изображения делений лимбов в отсчетном устройстве. Лимбы горизонтальных кругов оцифрованы от 0º до 359º по ходу часовой стрелки.
Отсчетные системы - лупы и микроскопы - в теодолитах служат для рассматривания делений лимбов и шкал при измерениях по ним. Окуляр микроскопа отсчетного устройства расположен рядом с окуляром зрительной трубы.
Формирование отсчетов по горизонтальному и вертикальному кругам теодолита типа Т30 можно увидеть на рис.5.22 и 5.26.
В более поздних моделях теодолитов предпочтение отдается шкаловым микроскопам (2Т30, 2Т30П, 4Т30П, Т5К, 2Т5К, 3Т5КП) и оптическим микрометрам (Т2, 2Т2).
Отсчёты по лимбу проводят с помощью шкал, вид которых для различных типов теодолитов показан на рис. 5.27. Рядом с окуляром зрительной трубы имеется окуляр шкалового микроскопа. В верхнюю часть поля зрения отсчетного микроскопа, отмеченную буквой «В», проецируются изображения отсчетной шкалы и вертикального лимба, в нижнюю, отмеченную буквой «Г», - изображения шкалы и горизонтального лимба.
Горизонтальные угломерные круги разделены через 1º (цена деления лимба), каждый штрих оцифрован от 0º до 359º.

Рис. 5.27. Поле зрения шкалового микроскопа: а - теодолита 4Т30П (отсчеты: по вертикальному кругу « - 0º26'»; по горизонтальному кругу 125º 06,5'); б - теодолита 3Т5КП (отсчеты: по вертикальному кругу « - 0º23,5'»; по горизонтальному кругу 127º 05,6').
Для оценки доли градусного интервала используются шкалы с различной ценой деления (5' - если градусный интервал делится на 12 делений; 1' - если делится на 60 делений).
Известно, что видимый интервал между штрихами шкалы составляет 1 - 3 мм, тогда погрешность оценки доли деления при условии физиологической возможности глаза составляет 0,05 - 0,1 деления, что в первом случае составит 15-30″, а во втором - 3 - 6″. Доли деления оцениваются на глаз с округлением до 0,1 интервала.
Индексом для отсчета служит штрих лимба попадающий на шкалу. Например, на рис. 5.27,а цена деления шкалы для горизонтального и вертикального кругов 5', а 0,1 деления соответствует 0,5' (точность отсчета), тогда отсчет по горизонтальному кругу будет формироваться так:
125º - подпись на лимбе,
05' - целое деление шкалы слева от индекса,
1,5'- как 0,3 деления шкалы умноженное на 0,5'.
Итого: отсчет 125º 06,5'.
Шкала для вертикального круга имеет два ряда цифр: от 0 до 6 и от «-» 0 до «-» 6. Шкалу с «минусами» используют в том случае, когда в пределах шкалы находится штрих лимба с тем же знаком, и записывают показание также со знаком «минус». Например, по вертикальному кругу на рис. 5.27,а отсчет: - 0º26'.
Поле зрения отсчетного микроскопа теодолита 3Т5КП (рис.5.27,б) содержит информацию о том, при каком положении вертикального круга произведен отсчет. Эта информация содержится в боковых, попеременно закрывающихся окошках с нанесенными на них обозначениями П (круг справа) и Л (круг слева).
Цена деления шкалы для горизонтального и вертикального кругов 1', тогда отсчет по горизонтальному кругу при П будет формироваться так:
127º- подпись на лимбе,
05' - пять целых делений шкалы слева от индекса,
0,6'- как 0,6 деления шкалы (точность отсчета 0.1').
Итого: отсчет 127º 05,6'.
Одновременно с этим поле зрения отсчетного микроскопа (рис.5.27,б) содержит информацию о том, что шкала вертикального круга имеет два ряда цифр, расположенных выше и ниже шкалы. По обе стороны шкалы расположены математические символы «+» и «-», которые в зависимости от того, при каком положении вертикального круга (П или Л) производится измерение, одна пара символов оказывается открытой, а другая закрытой. Верхний символ относится к верхнему ряду цифр шкалы, нижний - к нижнему. Символ «-», а следовательно, и весь ряд сопряженных с ним цифр используется, когда в пределах шкалы находится штрих вертикального круга со знаком «-», и наоборот, знак «+» и весь ряд сопряженных с ним цифр используется, когда в пределах шкалы штрих вертикального круга не имеет знака. Например, на рис.5.27,б отсчет по вертикальному кругу: - 0º23,5'.
Теодолиты Т1, Т2 снабжены оптическими микрометрами, с помощью которых отсчеты по вертикальному и горизонтальному кругам можно брать с точностью до десятых долей секунды.
Уровни в геодезических приборах служат для установки оптико-механических узлов и осей прибора в горизонтальное или вертикальное положение или для измерения малых углов отклонения некоторых узлов прибора от горизонтального или вертикального положения. Уровни могут быть съемными (например, накладные на горизонтальную ось высокоточного теодолита) или жестко скрепленными с прибором.
В зависимости от принципа действия уровни подразделяют на жидкостные, электромеханические, маятниковые и т. п.
Основными элементами жидкостного уровня являются его чувствительный элемент (ампула с жидкостью и пузырьком) и оправа для крепления. Жидкостные уровни бывают круглые и цилиндрические.
В круглом уровне (рис. 5.28) в качестве ампулы используется стеклянный сосуд 3, внутренняя поверхность которого отшлифована и представляет собой часть сферической поверхности шара. Сосуд почти полностью заполнен легкоподвижной жидкостью (серный эфир или спирт), а оставшееся свободное пространство - парами жидкости (пузырек уровня). На наружной части ампулы круглого уровня выгравировано несколько концентрических окружностей, центр которых является нульпунктом.

Рис. 5.28. Круглый уровень: а - внешний вид; б - разрез (1 - исправительный винт, 2 - оправа, 3 - ампула, 4 - пузырек).
Линия радиуса сферической поверхности ОО1, проходящая через нульпункт называется осью круглого уровня (рис. 5.28,б). Когда пузырёк уровня в нульпункте, ось его занимает отвесное положение.
Цена деления круглых уровней колеблется от 3' до 15'. Круглые уровни применяются там, где требуется быстрая предварительная установка прибора в рабочее положение.
В цилиндрическом уровне (рис. 5.29,а) ампула представляет собой стеклянную трубку 2, внутренняя поверхность которой отшлифована в виде бочкообразного тела вращения и заполнена жидкостью. Свободное пространство с парами жидкости (пузырек уровня 3) обычно составляет 0,3 - 0,4 длины ампулы при t = 20 °С. Ампула уровня заключена в оправу 1, имеющую регулировочные винты 5,6. Цилиндрические уровни могут быть простыми без регулировки длины пузырька и камерными, имеющими у одного из концов небольшую стеклянную перегородку - камеру 4 для удержания части пузырька, поскольку его длина может заметно меняться с изменением температуры жидкости. Длина пузырька изменяется наклоном и встряхиванием прибора.
Если уровень расположен горизонтально, то середина пузырька занимает самое высокое положение. Для того, чтобы можно было фиксировать положение концов пузырька уровня, на внешней поверхности ампулы наносят шкалу с деления l через 2 мм. Нанесенный или воображаемый средний штрих шкалы О называется нульпунктом (рис. 5.29,б,в).

Рис. 5.29. Цилиндрический уровень: а - разрез (1 - оправа, 2 - ампула, 3 - пузырек, 4 - запасная камера, 5, 6 - исправительные винты); б - деления ампулы; в - ось уровня.
Касательная АВ к внутренней поверхности в нульпункте шкалы О называется осью цилиндрического уровня, а центральный угол τ, опирающийся на дугу, равную одному делению, называется ценой деления уровня (рис. 5.29,в ):
τ=(l/R)ρ″, (5.17)
где R - радиус дуги; ρ″= 206265″.
В геодезических приборах применяются цилиндрические уровни с ценой деления от 2″ до 60″. Цена деления уровня определяет его чувствительность, т. е. способность приводить в горизонтальное положение плоскость своей опоры. Для невооруженного глаза она соответствует в среднем 0,1 - 0,2 мм дуги уровня, или составляет 0,15 τ. Чувствительность уровня ещё зависит и от качества шлифовки внутренней поверхности ампулы, от свойств жидкости, трения её о стенки ампулы и температуры. Чувствительные уровни обычно защищают от внешних влияний изоляцией.
По конструктивным особенностям различают цилиндрические уровни: обычные (односторонние); реверсивные (со шкалами на двух противоположных сторонах ампулы); контактные (с системой призм и микрообъективов для получения совмещенного изображения половинок противоположных концов его пузырька); накладные, подвесные уровни и др.
При симметричном расположении пузырька относительно нульпункта ось цилиндрического уровня VV1 занимает горизонтальное положение (рис. 5.30).

Рис.5.30. Геометрия уровня.
Действительно, по условию нульпункт в точке О, отрезок
АО=ОВ, радиус ZO перпендикулярен
VV1, линия АВ горизонтальна,
она является хордой дуги АОВ, перпендикулярна радиусу
ZO и параллельна оси цилиндрического уровня
VV1.
Следовательно, при параллельности оси уровня VV1 и плоскости М1М (горизонтального круга теодолита) и расположении пузырька уровня симметрично относительно нульпункта О, линия М1М будет горизонтальна. Установив второй уровень или переставив тот же уровень, перпендикулярно первому положению (рис. 5.30), и, приводя таким же образом в нульпункт пузырек уровня добиваются горизонтальности лимба теодолита по линии LL1.
Таким образом, для установки лимба в горизонтальное положение необходимо выполнить два условия:
1) ось цилиндрического уровня должна быть параллельна плоскости лимба;
2) пузырек уровня должен располагаться симметрично относительно нульпункта.
Первое условие требует поверки уровня и юстировки (регулировки). Для этого уровень имеет специальный исправительный (юстировочный) винт.
Второе условие (горизонтирование) выполняется при каждой установке прибора в рабочее положение подъемными винтами в двух взаимно перпендикулярных направлениях.
Примечание. Аналогичные условия должны выполняться и при использовании цилиндрического уровня для приведения любой плоскости в горизонтальное положение.
Поверка и юстировка уровня на геодезическом приборе производится перед полевыми измерениями в следующем порядке: устанавливают головку штатива на глаз горизонтально над точкой; закрепляют теодолит на штативе становым винтом; затем уровень (поворотом алидады) устанавливается параллельно линии, проходящей через два подъемных винта; одновременным вращением этих винтов в противоположных направлениях пузырек уровня приводится в нульпункт (начальное положение). Поворотом алидады (плоскости лимба и алидады параллельны между собой) устанавливают уровень по направлению третьего подъемного винта (второе положение) и выводят пузырек в нуль-пункт. Если бы было выполнено первое условие (рис. 5.31, нормальное положение), то горизонтальный круг занял бы горизонтальное положение.
Допустим, что ось уровня VV1 не параллельна плоскости лимба и составляет с ним угол φ (1-е положение на рис. 5.31). Тогда лимб расположится под углом φ к горизонту. После приближенного приведения горизонтального круга в горизонтальное положение (см. выше), поворотом алидады на 180° относительно 1-го положения вокруг вертикальной оси Z1Z (2-е положение) прямая ОN, как образующая конуса, отклонится от оси Z1Z опять на угол φ, но в другую сторону, оставаясь перпендикулярной оси VV1. При этом ось VV1 (рис. 5.31, 2-е положение) будет отклонена от горизонта на угол ψ=2φ (как внешний угол равнобедренного треугольника), а пузырек уровня сместится вверх на дугу в n делений (смещение пузырька принимается пропорциональным углу отклонения).
Очевидно, если теперь повернуть уровень при помощи исправительного винта вокруг точки К так, чтобы пузырек возвратился назад в сторону нульпункта на n/2 делений, то ось уровня станет параллельной плоскости лимба.
После этого плоскость горизонтального круга снова приводится в горизонтальное положение, как описано ранее.
Естественно, что при параллельности оси цилиндрического уровня и плоскости лимба поворот на 180º не будет вызывать смещения пузырька от нульпункта. Для технических теодолитов допустимое отклонение пузырька уровня от нульпункта не более одного деления. Так как поверка производится методом последовательного приближения, то поворот алидады на 180º можно производить на глаз или по отсчету на лимбе горизонтального круга.
Если угол φ очень велик, то пузырек уровня после поворота алидады на 180º может уйти в самый конец уровня, поэтому для ускорения работы полезно дугу отклонения измерить шагом подъемных винтов. Для этого поступают так. Вращая винты в разные стороны и считая число поворотов кистей рук, приводят пузырек уровня в нульпункт ампулы. Затем вращают в обратную сторону на половину числа поворотов, тем самым пузырек уровня будет перемещен на половину дуги отклонения.
Круглый уровень поверяют так же, как и цилиндрический: сначала устанавливают по направлению двух подъемных винтов, а затем в таком же порядке по направлению третьего подъемного винта.

Рис. 5.31. Схема поверки цилиндрического уровня
5.10.3. Технический осмотр, испытания и поверки теодолита
Качество измерений зависит не только от знаний и опыта исполнителя, но и технического состояния прибора, оборудования. Поэтому, принимая теодолит для выполнения полевых работ, должен производиться технический осмотр, при котором устанавливается комплектность принадлежностей, их исправность, ясность и четкость изображений в зрительной трубе и отсчетной системе, отсутствие погнутостей и шатаний подъемных винтов подставки-треножника, а также повреждения уровней и их исправительных винтов, правильность работы закрепительных, наводящих винтов и т.д. Одновременно устанавливается исправность штатива. Выявленные недостатки устраняются.
Для теодолитов в процессе испытаний устанавливается точность отсчетов, увеличение зрительной трубы, цена деления цилиндрического уровня, сохранность необходимого сопряжения основных частей теодолита в процессе выполнения измерений.
После этого выполняют действия, связанные с проверкой геометрических и оптико-механических условий, которым должны удовлетворять геодезические приборы. В геодезии такие действия называют поверками, а исправления нарушенных геометрических условий в приборе - юстировкой (лат. Justus - правильный). Поверка и юстировка прибора является неотъемлемой частью технологии полевых топографо-геодезических работ.
Геометрические условия состоят в сопряжении осей теодолита под заданным углом. Взаимное расположение этих осей должно соответствовать принципу измерения горизонтального угла. Чтобы такое соответствие обеспечивалось, выполняют поверки геометрических условий теодолита в следующей последовательности.
Поверка уровня. Ось цилиндрического уровня горизонтального круга должна быть параллельна плоскости лимба и перпендикулярна оси вращения теодолита.
Устанавливают теодолит на штативе и выполняют поверку цилиндрического уровня в порядке рассмотренном ранее. После юстировки уровня следует повторить поверку и убедиться в выполнении требуемого условия, т.е. пузырек уровня не должен отклоняться от нульпункта более чем на одно деление.
Если это условие не будет выполнено, то при помощи уровня не удастся установить горизонтальный круг (рабочую меру) в горизонтальное положение и вертикальную ось теодолита в отвесное положение, соответствующее принципу измерения угла.
Окончив поверку и юстировку уровня, по нему приводят вертикальную ось вращения теодолита в отвесное (рабочее) положение.
Поверка положения коллимационной плоскости. Визирная ось VV должна быть перпендикулярна оси вращения зрительной трубы HH (рис.5.32,а). ^
Это условие необходимо для того, чтобы при вращении трубы вокруг её оси визирная ось описывала (коллимационную) плоскость, а не конические поверхности. Если визирная ось не перпендикулярна к оси вращения зрительной трубы, то возникает коллимационная погрешность «с», соответствующая углу отклонения визирной оси от перпендикуляра к оси вращения трубы.
Рис.5.32. Схемы геометрических условий поверок теодолита: а - второй поверки; б - третьей поверки; в - четвертой поверки
В теодолитах типа Т3О с односторонним отсчетным устройством (т. е. отсчет можно производить только в одной точке градусных делений лимба) для исключения погрешностей, вызываемых эксцентриситетом алидады, поверку выполняют так.
При закрепленном лимбе зрительную трубу теодолита дважды наводят на удаленную точку В, расположенную приблизительно на одном уровне с прибором, один раз при круге П, другой - при круге Л и берут отсчеты по микроскопу bп1 и bл1.,
Затем освободив зажимной винт при подставке прибора, поворачивают весь теодолит в подставке примерно на 180°, визируют на ту же точку, после чего лимб закрепляют. Потом вновь визируют на точку В. При положении круг П и Л и берут два отсчета bп2 и bл2 по микроскопу. Величину коллимационной погрешности вычисляют по формуле
с = ¼ {(bп1 - bл1±180º)+( bп2 - bл2±180º)} (5.18)
Если погрешность «с» меньше двойной точности отсчета, то условие считается выполненным, если же с > 1' (двойной точности), то производят исправление. При юстировке, действуя наводящим винтом алидады, устанавливают на лимбе горизонтального круга верный отсчет bл, определяемый по формуле
bл = bл2 - с.
При этом алидада повернется на угол «с» и визирная ось отклонится от изображения наблюдаемой точки В. Тогда, ослабив слегка один вертикальный, например верхний, исправительный винт при сетке нитей, действуя боковыми исправительными винтами при ней, передвигают сетку до совмещения точки пересечения нитей с изображением наблюдаемой точки В.
После юстировки надо повторить поверку и убедиться, что условие выполнено.
Для исключения влияния остаточной коллимационной погрешности угол обязательно нужно измерять при двух положениях вертикального круга и брать среднее значение.
Поверка положения горизонтальной оси теодолита. Ось вращения зрительной трубы НН должна быть перпендикулярна к оси вращения прибора YY (рис.5.32,б).
Это условие необходимо для того, чтобы после приведения теодолита в рабочее положение его коллимационная (визирная) плоскость была вертикальна.
5.33. Схема третьей поверки теодолита
Для поверки выполнения этого условия на расстоянии 10-20 м от теодолита на стене здания максимально высоко замечают какую-либо точку А (рис.5.33). Поверку выполняют 2 человека. Наблюдатель вводят изображение точки в крест сетки нитей и опускают зрительную трубу до горизонтального её положения и даёт команду помощнику перемещать на стене руку с карандашом до тех пор, пока карандаш не попадает в крест сетки нитей. Это положение а1 отмечается на стене (бумаге). Затем наблюдатель, переведя трубу через зенит, вновь наводит трубу на выбранную вверху стены точку А и наклоняет трубу до горизонтального положения её визирной оси. Снова отмечается на стене (бумаге) место проекции креста сетки нитей а2. Если обе точки а1 и а2 совместились в одной точке а, значит условие выполнено, если же они не совпали больше чем на двойную ширину видимого расстояния между штрихами биссектора сетки нитей, то условие не выполнено.
Тогда, действуя юстировочными винтами эксцентриковой втулки лагеры оси трубы, перемещают перекрестие нитей сетки в среднюю точку проекции а.
Выполнение данного условия обеспечивается заводом, в крайнем случае, исправление выполняется опытным специалистом или в специализированных мастерских.
Поверка положения сетки нитей. Вертикальная нить (штрих) сетки нитей АА должна находиться в коллимационной плоскости (рис.5.32,в).
После приведения теодолита в рабочее положение вертикальную нить (штрих) сетки нитей наводят на какую-либо отчетливо видимую точку и, наклоняя зрительную трубу наводящим винтом, следят за смещением наблюдаемой точки с нити. Если точка не смещается с вертикальной нити при любом наклоне трубы, то условие выполнено. В противном случае необходимо повернуть окулярную часть и пластинку с сеткой нитей, предварительно сняв колпачок с неё, и, ослабив винты, прикрепляющие окулярную часть к объективному колену, а потом после исправления завернуть четыре винта.
Если сетку нитей юстировали, то необходимо проверить, не нарушено ли при этом условие 2.
Условие 4 не вытекает из принципа измерения горизонтального угла, но оно необходимо для удобства визирования на отвесные предметы (вехи, мачты, шпили и пр.).
Поверка места нуля. Место нуля (МО) вертикального круга теодолита должно быть равно или близко 0º и постоянно на станции.
Вертикальный круг теодолита предназначен для измерения углов наклона ν или зенитных расстояний z. Для одной и той же наклонной линии ВС (рис.5.34), углы ν и z связаны равенством ν + z= 90º.
В вертикальном круге лимб жестко скреплен с осью зрительной трубы, а отсчетный индекс (нулевой диаметр) алидады должен занимать горизонтальное положение при измерениях (рис. 5.34,а).
Принцип измерения угла наклона тот же, что и горизонтального угла, т. е. значение угла равно разности двух отсчетов, полученных после визирования по двум его сторонам. В качестве одной из сторон угла служит горизонтальная линия (нулевой диаметр). Установка нулевого диаметра в горизонтальное положение выполняется при помощи уровня алидады или компенсатора.
Примечание. Компенсатор - устройство, удерживающее отсчетный индекс (нулевой диаметр) в горизонтальной плоскости при сравнительно небольших наклонах вертикальной оси вращения теодолита. Часто такой компенсатор является системой линз и призм, свободно подвешенной на очень тонких проволочках. Если в сокращенном названии теодолитов, например Т5К, ставится буква «К», это означает, что уровень у вертикального круга заменен компенсатором.

Рис. 5.34. К понятию места нуля вертикального круга и схема взаимосвязи угла наклона и зенитного расстояния.
Но так как одной из сторон углов наклона всегда является горизонтальная
линия, то измерение угла наклона сводится лишь к отсчету по лимбу при
визировании на наблюдаемую точку при условии, что величина места нуля
(МО) шкалы равна нулю (рис. 5.35,а). На рис. 5.35,а показан
случай, когда угол наклона ν = 35º, так как
МО = 0º. Но это будет справедливо, если выполняется
условие параллельности нулевого диаметра шкалы и оси уровня, и ось уровня была
приведена в горизонтальное положение.
Отсчет по шкале вертикального круга не всегда соответствует углу наклона
визирной линии. Это бывает, когда МО ≠ 0º, а ось
уровня была приведена в горизонтальное положение.
Рассмотрим случай, когда, например, МО=5º (рис.5.34,б).
Такой вариант возникает, когда условие параллельности нулевого диаметра
шкалы и оси уровня не выполняется. Тогда при установке пузырька в
нульпункт ось уровня займет горизонтальное положение, а нулевой диаметр
сместится на величину МО=5º. Угол наклона
вычисляется по формуле
ν = 40º – МО = 40º – 5º = 35º.
В приведенном примере рассмотрен частный случай, когда величину М0 шкалы
круга приняли равной 5º. В практической работе величина М0 для конкретного
прибора неизвестна. Поэтому в процессе выполнения поверок М0 необходимо
определять.
Определение места нуля (МО).
Таким образом, особенностью измерения углов наклона является необходимость
знания МО шкалы вертикального круга.
Определение места нуля (М0). Таким образом, особенностью измерения углов наклона является необходимость знания М0 шкалы вертикального круга.
Для теодолитов, имеющих цилиндрический уровень при вертикальном круге, под МО понимается отсчет на этом круге, при котором визирная ось и ось цилиндрического уровня занимают горизонтальное положение.
При измерении угла наклона другими теодолитами - МО представляет отсчет по лимбу вертикального круга, соответствующий горизонтальному положению визирной оси при определенном исходном положении нулевого индекса отсчетного устройства в пространстве.
Вид формул, по которым вычисляют место нуля (М0) и угол наклона ν, зависит от надписей (оцифровки) делений на лимбе вертикального круга теодолита.
У теодолитов Т30 и Т15 деления на лимбе вертикального круга подписаны от 0 до 360° против хода часовой стрелки. Отсчитывание одностороннее - при круге Л около 0°, при круге П около 180°. У этих теодолитов нет уровня при алидаде вертикального круга и его заменяет уровень при алидаде горизонтального круга, расположенный параллельно коллимационной плоскости зрительной трубы.
Для определения МО теодолит устанавливают в рабочее положение (горизонтируют). Выбирают максимально удалённую точку, чтобы зрительная труба занимала приблизительно горизонтальное положение. Открепив закрепительные винты горизонтального круга и зрительной трубы, наводят на выбранную точку, а затем, соответственно наводящими винтами вводят её изображение в крест сетки нитей.
Приводят пузырёк уровня при горизонтальном круге в нульпункт при помощи подъемного винта, по направлению которого расположен уровень, уточняют визирование наводящим винтом зрительной трубы и делают отсчет в микроскопе по шкале вертикального кругу, например, при круге лево (Л). Те же действия выполняют при положении круг право (П). Такое измерение угла называют измерением полным приемом.
Подобные действия выполняют, наводя на 2-3 удаленные точки.
Используя отсчеты, полученные при круге Л и круге П, вычисляют МО, угол наклона по соответствующим формулам:
|
М0 = ½ (Л + П + 180º); |
(5.18) |
|
ν = Л - М0; |
(5.19) |
|
ν = М0 - П - 180º |
(5.20) |
|
ν = ½ (Л - П - 180º) = ½ (Л - П - 180º). |
(5.21) |
При использовании формул (5.18) - (5.21) к малому отсчету (до 60º) прибавляют 360º.
Пример 1. Отсчеты при круге: П=175º; Л = 25º , тогда
М0 = ½ (Л + П + 180º) = ½ (385º + 175º, + 180º)= 370º или 10º;
ν = М0 - П - 180º = 370º - 175º - 180º = +15º;
ν = ½ (Л - П - 180º) = ½ (385º- 175º- 180º) = +15º.
Контроль по формуле: ν = Л - М0 = 385º - 370º = +15º.
Пример 2. Отсчеты при круге: П=182º 46'; Л = 357º 14' , тогда
М0 = ½ (Л + П + 180º) = ½ (357º 14' + 182º 46' + 180º)= 0º 00';
ν = М0 - П - 180º = 360º - 182º 46' - 180º = - 2º 46';
ν = ½ (Л - П - 180º) = ½ (357º 14' - 182º 46' - 180º) = - 2º 46'.
Контроль по формуле: ν = Л - М0 = 357º 14' - 360º00' = - 2º 46'.
Если значение МО по результатам нескольких наблюдений колеблется в пределах двойной точности отсчетного устройства, то условие можно считать выполненным.
Если колебания МО превышают указанный предел, то необходимо проверить точность крепления уровня на горизонтальном круге, вертикального круга на оси вращения трубы и вертикальных исправительных винтов сетки нитей.
При этом постоянство МО в процессе работы будет свидетельствовать о том, что взаимное положение (геометрическое условие) отдельных деталей не нарушено.
Современные теодолиты снабжены компенсатором, заменяющим цилиндрический уровень при вертикальном круге. При значительных колебаниях МО в таких теодолитах причину нужно искать в неудовлетворительной регулировке компенсатора.
У теодолитов 2ТЗО, 2ТЗОП, 4Т30П деления на лимбе вертикального круга подписаны от 0 до ±75º в обе стороны - по ходу и против хода часовой стрелки (секторная оцифровка). Деления, подписанные по ходу часовой стрелки, сопровождаются знаком «минус». Отсчитывание по лимбу одностороннее, при этом в зависимости от знака угла наклона и значения МО отсчеты могут быть положительными и отрицательными.
Для вычисления МО и угла наклона следует применять формулы:
|
М0 = ½ (Л + П); |
(5.22) |
|
ν = Л - М0; |
(5.23) |
|
ν = М0 - П |
(5.24) |
|
ν = ½ (Л - П) |
(5.25) |
Пример 3. Отсчеты при круге: П= -20º; Л = 40º , тогда
М0 = ½ (Л + П) = ½ {(40º + (-20º) }= 10º;
ν = М0 - П = 10º - ( -20º) = +30º;
ν = ½ (Л - П) = ½ { 40º -( - 20º) }= +30º.
Контроль по формуле: ν = Л - М0 = 40º - 10º = +30º.
Пример 4. Отсчеты при круге: П= 2º 23'; Л = -2º 24' , тогда
М0 = ½ (Л + П ) = ½ ( -2º 24' + 2º 23' )= - 0º 00,5';
ν = М0 - П = - 0º 00,5'- 2º 23' = - 2º 23,5';
ν = ½ (Л - П ) = ½ (-2º 24' ' - 2º 23') = - 2º 23,5'.
Контроль по формуле: ν = Л - М0 = -2º 24' - (- 0º 00,5') = - 2º 23,5'.
Анализируя формулы (5.22) и (5.25) видно, что угол наклона можно вычислить и без МО. Место нуля вычисляют, потому что оно является надежным средством контроля измерений углов наклона, так как при измерении нескольких углов наклона на точке стояния теодолита место нуля должно быть постоянным или расхождение значений места нуля не должно превышать установленного предела.
Кроме того, МО необходимо знать, если углы наклона измеряют одним полуприемом, т. е. при круге Л или - П, когда выполняют съемку рельефа. Для упрощения вычислений угла наклона, например при Л, по формулам (5.19) и (5.23) МО приводят к 0º и тогда отсчет при круге Л = ν.
Этого можно достичь в некоторых теодолитах.
Приведение места нуля к значению, близкому к 0º. Для этого у теодолитов типа Т30, имеющих цилиндрический уровень при горизонтальном круге, необходимо выполнить следующие действия.
1. Установить теодолит на штатив, привести в рабочее положение.
2. Выполнить измерения для определения МО с контролем по нескольким точкам и вычислить угол наклона ν на одну из точек, например N. Причем желательно, чтобы этот угол был положительным.
3.При круге П (если деления на вертикальном круге подписаны по ходу часовой стрелки) подправляется положение пузырька в нульпункте и креста сетки нитей на точке. Оставляют зрительную трубу наведенной на точку N.
4. Вращением наводящего винта зрительной трубы устанавливают на вертикальном круге отсчет, равный вычисленному значению угла ν. При этом крест сетки нитей сместится с наблюдаемой точки N.
5. При помощи вертикальных исправительных винтов оправы сетки нитей возвращают крест сетки нитей на наблюдаемую точку N.
6. После этого вновь определяют МО и, если необходимо, повторяют те же действия.
Если деления на вертикальном круге теодолита подписаны против хода часовой стрелки (Т30, Т15 и др.), все описанные действия выполняются при круге Л.
В процессе перемещения сетки нитей могут произойти некоторые её боковые сдвиги, что повлияет на коллимационную плоскость. Поэтому необходимо повторить поверку.
У теодолитов (Т15К и др.), имеющих вместо уровня компенсатор вертикального круга, постоянство МО (равное или близкое к 0º) обеспечивается автоматически при помощи компенсатора, в пределах 2', т.е. в этих же пределах автоматически сохраняется в отвесном положении изображение отсчетных индексов оптической системы. Для таких теодолитов установка в рабочее положение обеспечивается по круглому уровню.
Однако такие компенсаторы перед началом работы должны исследоваться на устойчивость показаний, поскольку возможны нарушения правильности перемещений их подвесных элементов. Уменьшение же величины МО можно достигнуть также перемещением сетки нитей вертикальными исправительными винтами.
5.10.4. Особенности точного теодолита 3Т5КП
Теодолит может быть укомплектован штативом и дополнительно следующими приспособлениями: ориентир - буссолью, линзовой насадкой на объектив, окулярной насадкой на зрительную трубу и отсчетный микроскоп, электроосвещение, визирная вешка, устанавливаемая в ручку для переноски теодолита.
Основными особенностями теодолита 3Т5КП (рис.5.35) являются угломерные круги, разделенные с высокой точностью, более сложная отсчетная система.
Рис. 5.35. Общий вид теодолита 3Т5КП: а - вид со стороны объектива; б - вид со стороны окуляра:
1 - ручка для переноски; 2 - клиновидное кольцо; 3, 16 - боковые крышки колонок; 4 - пробка; 5 - зеркало; 6 - винт установки точного отсчета; 7 - рукоятка поворота лимба; 8 - подъемный винт; 9 - закрепительный винт; 10 - подставка; 11 - окуляр центрира; 12 - окно круга-искателя; 13 - винт; 14 - колонка; 15 - зрительная труба; 17,19 - закрепительные винты; 18,20 - наводящие винты; 21 - юстировочный винт цилиндрического уровня; 22 - уровень; 23 - круглый уровень; 24 - окуляр микроскопа; 25 - окуляр зрительной трубы; 26 - колпачок; 27 - кремальера; 28 - горизонтальная ось; 29 - визир.
В теодолите имеется специальное устройство для точной установки отсчета по горизонтальному кругу, а круг - искатель направлений позволяет быстро ориентировать лимб по заданному направлению.
Центрирование выполняется при помощи встроенного в горизонтальный круг оптического центрира. На объективной части центрира имеются юстировочные винты для установки его визирной оси параллельно оси вращения теодолита.
Закрепительные винты куркового типа расположены соосно с наводящими винтами зрительной трубы и алидады горизонтального круга.
Оцифровка лимба вертикального круга. Вертикальный круг имеет секторную оцифровку, но, в отличие от теодолита 2Т5К, знаками минус отмечены не противоположные секторы, а смежные, т. е. половина круга имеет положительные значения, а вторая половина - отрицательные. Такое расположение символов положительных и отрицательных углов позволяет снимать отсчеты по вертикальному кругу с знаками, соответствующими знаку угла наклона визирной оси независимо от того, при каком положении вертикального круга (Л или П) производилось измерение. Горизонтальный и вертикальный круги разделены и оцифрованы через 1º.
Отсчетная система. В стойке колонки со стороны вертикального круга расположено отсчетное устройство с маятниковым компенсатором, обеспечивающим автоматическую установку отсчетного индекса в горизонтальное положение в пределах работы компенсатора до ± 4'.
Оптическая схема отсчетной системы двухканальная - изображения штрихов горизонтального и вертикального кругов проецируются по двум независимым оптическим каналам. Поле отсчетного устройства вертикального круга окрашено голубым цветом, горизонтального- желтым.
У теодолитов со шкаловыми отсчетными микроскопами перед началом выполнения основных поверок нужно установить значение рена.
Исправление рена. Под реном понимается различие между размером вспомогательной шкалы отсчетной системы (60 делений) и наименьшим делением шкалы лимба (μ =1º). Для определения рена на данном участке лимба совмещают штрих А лимба с нулевым штрихом шкалы микроскопа и берут отсчет по щтриху (А-1º), затем вычисляют разность отсчетов по штрихам А и (А-1º).
Величину рена горизонтального круга определяют измерением делений лимба
шкалой микроскопа на установках алидады через 45º+μ в прямом и обратном ходах,
причем установки обратного хода отличаются на 22º+2μ от установок прямого
хода. Рен отсчетной системы вертикального круга определяют при круге Л и П в
пределах ±10º на восьми симметричных установках прямого и обратного хода
[Теодолиты. Методика поверки ЦНИИГАиК, М.,2000г., – 28 с.].
Рен должен быть не менее чем в два раза меньше точности производства отсчетов
по кругам. Если значение рена недопустимо, необходимо его уменьшить изменением
положения соответствующих линз микроскопа. Если изображение шкалы лимба
необходимо уменьшить, обе линзы переместить вверх, если увеличить – вниз.
Поверки. Основные поверки теодолита и последовательность
действий при юстировке такие же, как и у теодолитов типа Т30.
У теодолитов с односторонними отсчетами для вычисления коллимационной
погрешности берутся четыре отсчета: два при круге (П и Л) обычным путем и два
после смещения лимба относительно исходного положения на 180°.
Поэтому
с = 0,25 {(П1 – Л1 ± 180°) + (П2 – Л2
± 180°)}.
Повторяют определение коллимационной погрешности и, если разность между двумя
значениями не превышает 15", вычисляют её среднее арифметическое
значение. Если среднее арифметическое значение коллимационной погрешности
превышает 15", то необходимо исправление.
Для устранения коллимационной погрешности поворачивают всю зрительную трубу
относительно её оси вращения с помощью клиновидного кольца, расположенного
между опорным торцом зрительной трубы и её осью. Клиновидное кольцо вращают
специальным накидным ключом, который входит в комплект теодолита.
Определение МО и угла наклона. Для вычисления МО и угла наклона
применяют формулы:
|
М0 = ½ (Л –П);
|
(5.26) |
|
ν = Л –
М0; |
(5.27) |
|
ν = П +
М0; |
(5.28) |
|
ν = ½ (Л + П) |
(5.29) |
Теодолит имеет устройство точного приведения МО к 0º, через
отверстие в боковой крышке колонки, закрываемое пробкой.